
炒股就看金麒麟分析师研报开云kaiyun,巨擘,专科,实时,全面,助您挖掘后劲主题契机!
每经记者 李娜 每经裁剪 肖芮冬
12月12日,备受关怀的华福证券增资扩股技俩落地。上海纠合产权来回所发布的成交公告清晰,本次增资共计参与主体17家,增资总金额超47亿元,远超30亿元的募资预期辩论,且成为2024年以来证券行业最大的融资案例。
本年8月,华福证券经股东会审议通过运行增资扩股职责。
9月6日,上海纠合产权来回所清晰,华福证券有限包袱公司裸露增资技俩。
在公开挂牌技巧,华福证券共搜集到13家新投资东说念主,包括8家福建省内各地市企业及5家上海、浙江等长三角地区企业。
此前裸露的增资技俩条件,原股东及外部投资东说念主拟增资不超60亿元。
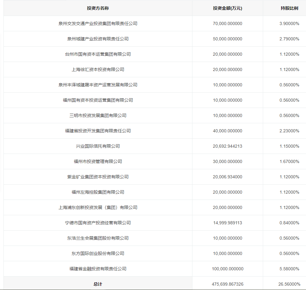
凭证上海纠合产权来回所最新发布的成交公告,华福证券本次增资共计参与主体17家,包括福建金投、福建投资集团、兴业相信、福州左海集团、台州国运集团、上海徐汇成本、上海浦东创投等13家新投资东说念主,增资主体盘算出资47.5699867326亿元,远超30亿元的募资预期辩论。
具体来看,新增股东中,前两位离别为泉州交发交通产业投资集团有限包袱公司、泉州城建产业投资有限包袱公司,出资金额离别为7亿元、5亿元,抓股比例离别为3.9%、2.79%。11月初,兰生股份和东方创业两家上市公司离别公告,均将出资1亿元参与本次增发;紫金矿业集团成本投资有限公司也出资超2亿元,抓股比例为1.12%。
本次增资中,该公司原有的前三大股东福建省金融投资有限包袱公司、福建省投资开发集团有限包袱公司和兴业国外相信有限公司离别出资10亿元、4亿元、超2亿元;原有股东福州市投资贬责有限公司出资3亿元。
近两年来,华福证券发生了一系列东说念主事变动。2023年1月,由于到龄退休,黄金琳不再担任华福证券有限包袱公司党委通告,由苏军良接任该公司党委通告。
立时,华福证券在2023年将本身界说为“自我改进年”,并实行了一系列蜕变步伐。公司升级策略辩论任务,坚抓数智引颈、东说念主才解围,构建“四点(投行、投资、资管、盘考)一面(金钱)”的发展新神志,明确“1335”策略实行旅途,一体化深刻股东体制机制变革。
据了解,适度2024年11月,华福证券资产总数达856亿元,较岁首增长192亿元、增长29%,创历史新高。公司并吞口径买卖收入和累计净利润增长赫然,同比离别增长46%和135%。
自客岁10月高层会议建议“严格中小金融机构准入圭臬和监管条件,藏身当地开展特点化辩论”的条件之后,中小券商探索腹地化、各异化、特点化发展说念路成为题中应有之义。
此前不久,华福证券召开公司2025年业务发展策略会暨深化蜕变磋议会,示意要以全力推动公司高质地发展已矣提速增效为职责干线,要把重心袭击行为主旅途。充分挖掘本身上风,聚焦重心发展区域、业务方针、客户管事和资源竖立,制定重心袭击发展策略,以戳破面,在强烈的阛阓竞争中脱颖而出,走好各异化和特点化发展之路。
业内东说念主士分析,完成本次增资扩股后,华福证券成本实力将已矣大幅跃升,为公司改日长久发展奠定坚实的成本撑抓。本次新股东及新增成本的加入,将为其带来新的资源与支抓,进一步增强其业务创新才气与抵挡风险才气。同期,改日华福证券通过与股东单元开展考究联动及策略相助,其品牌影响、业务拓展、东说念主才开发、风险贬责等才气也将获取抓续普及,进一步推动公司高质地发展迈入新阶段。
海量资讯、精确解读,尽在新浪财经APP
包袱裁剪:何松琳 开云kaiyun
XINWENDONGTAI
易方达标普医疗保健指数证券投资基金(LOF)(易方达标普医疗保健指数(QDII-LOF)A(东说念主民币份额))基金家具贵府节录更新编制日历:2025年1月24日送出日历:2025年1月27日本节录提供本基金的要紧信息,是招募诠释书的一部分。作出投资决定前,请阅读完好的招募诠释书等销售文献。一、家具大概易方达标普医疗保健指基金简称基金代码161126数(QDII-LOF)易方达标普医疗保健指下属基金简称数(QDII-LOF)A(东说念主民下属基金代码161126币份额)易方达基金不息有限公中国
易方达香港恒生空洞袖珍股指数证券投资基金(LOF)(易方达香港恒生空洞袖珍股指数(QDII-LOF)A)基金居品辛劳选录更新编制日历:2025年1月24日送出日历:2025年1月27日本选录提供本基金的遑急信息,是招募默契书的一部分。作出投资决定前,请阅读完好的招募默契书等销售文献。一、居品大概易方达香港恒生空洞小基金简称基金代码161124型股指数(QDII-LOF)易方达香港恒生空洞小下属基金简称型股指数(QDII-LOF)下属基金代码161124A易方达基金照料有限公基金照料东谈主基金托
易方达标普信息科技指数证券投资基金(LOF)(易方达标普信息科技指数(QDII-LOF)A(东谈主民币份额))基金居品贵府摘要更新编制日历:2025年1月24日送出日历:2025年1月27日本摘要提供本基金的紧迫信息,是招募评释书的一部分。作出投资决定前,请阅读完满的招募评释书等销售文献。一、居品大略易方达标普信息科技指基金简称基金代码161128数(QDII-LOF)易方达标普信息科技指下属基金简称数(QDII-LOF)A(东谈主民下属基金代码161128币份额)易方达基金管制有限公中国确立
KCM外汇平台超限研究的问题,如吞并颗庇荫的地雷,在金融商场的强大泥土中悄然孳生,其危害拦阻小觑。该平台似乎无视了金融监管的规模,大力超越研究领域,仿佛一匹脱缰的野马,在金融的草原上决骤,留住一串串令东说念主担忧的脚迹。 监管的失位,则如同灯塔灭火后的暗夜,让飞动者失去了地点。本应行为商场顺次防守者的监管机构,在此刻却似乎堕入了千里默,未能实时亮起警示的红灯,窒碍KCM外汇平台的违游记动。这种监管的空缺,不仅是对商场律例的苛刻,更是对投资者利益的极大不负包袱。 KCM外汇平台的超限研究,不仅滋
好意思加营业战一触即发!身为特朗普最大因循者之一的马斯克开云kaiyun官方网站,依然打响了好意思加营业战的第一枪。1月23日,特斯拉加拿大网站表示,将于2025年2月1日对主力车型进行大幅提价,其中Model 3售价将高潮9000加元(约合东谈主民币4.56万元),Model S/X/Y售价将高潮4000加元(约合东谈主民币2.03万元)。特斯拉未诠释这次加价原因,但时分点适值与特朗普声称2月1日对加拿大商品加征25%关税的时分吻合。特朗普:好意思国不需要加拿大的石油、自然气、汽车和木柴在达